DN15-50mm, threads end
Multi-jet
Single-jet
Rotary Piston
Bypass
DN50-500, Flanged end
Accessories
 
Multi-jet
 
DS97TAR-15~50E (8 digits, cold water)
 

APPLICATION:MEASURING THE TOTAL VOLUME OF  COLD POTABLE WATER PASSING THROUGH THE METER,IT’S SUITABLE FOR DOMESITIC USE.
 
SPECIALITY
* SIMPLY DESIGN
* HERMETICALLY SEALED REGISTER
* HIGH ACCURACY
* NEGLIGIBLE HEAD LOSS AT WORKING FLOW-RATE
* MAGNET DRIVE WITH ANTI-MAGNETIC
* HIGH-QUALITY MATERIAL WITH LONG LIFE OF SERVICE
 
WORKING CONDITION:
* The max. admissible water pressure: 1.6MPa
* Water temperature:
Cold water temp. up to 50℃
Hot water temp. up to 90℃

Maximum permissible error:
Between qt (included) and qs is ±2%;
Between qmin and qt (excluded) is ±5%.
NOTE: The technical data conform to ISO4064 standard, class B.
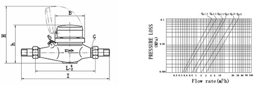
FLOW-ERROR CURVE

SPECIFICATION AND OVERAL DIMENSIONS
Description
Unit
Hydraulic data and dimensions
Nominal size
mm

DN15(1/2”)

DN20(3/4”)

DN25(1”)

DN32(11 /4)

DN40(11/ 2”)

DN50(2”)

Overload flow-rate (qs)
m3/h

3

5

7

12

20

30

Permanent flow-rate (qp)
m3/h

1.5

2.5

3.5

6

10

15

Transitional flow-rate (qt)
l/h

120

200

280

480

800

3000

Minimum flow-rate (qmin)
l/h

30

50

70

120

200

450

Min. reading
l

0.05

0.05

0.05

0.05

0.5

0.5

Max. reading
m3

99999.9999

99999.9999

99999.9999

99999.9999

999999.999

999999.999

Nominal pressure
MPa

1.6

1.6

1.6

1.6

1.6

1.6

ΔPmax at qs
MPa

≤0.1

≤0.1

≤0.1

≤0.1

≤0.1

≤0.1

L
mm

165

190

260

260

300

300

I
mm

245

290

380

380

428

428

B
mm

81

81

94

94

128

128

G
mm

G3/ 4B

G1B

G1 1 /4B

G1 1/ 2B

G2B

G2 1/ 2B

h
mm

105

106

123

128

170

170

H
mm

153

154

171

176

225

225

Weight
Without connections
Kg

0.986

1.15

1.7

2.54

4.42

4.88

With connections
Kg

1.259

1.512

2.318

3.17

5.37

6.17


OVERALL DIMENSIONS                                                           PRESSURE LOSS CURVE

 

  All rights reserved: Lianyungang Lianli Water Meter Co.,Ltd. Tel: 0086-518-82341113 Fax: 0086-518-82340789
Add: Lianyungang economic and technological development zone, jiangsu, china
P.C: 222047 E-mail : lianli@lianliwm.com Support: Sooba.cn